Ajay's Ford V8 Parts & Man Cave Accessories
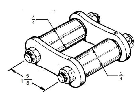
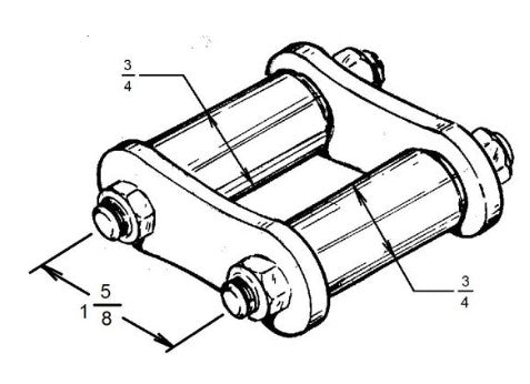
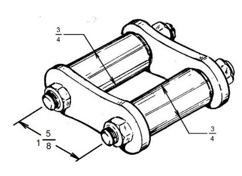
48-5630 Rear Spring Shackle Kit 1935-40
Regular price
$131.10 NZD
Regular price
Sale price
$131.10 NZD
Unit price
per
Tax included.
Shipping calculated at checkout.
Couldn't load pickup availability
Rear Spring Shackle Kit
- Pair Left & Right
- Original Steel Stud Type
Suitable:
- Ford/Mercury 1935 - 40
- Ford Truck 1935 - 40


